产·研·销一体化水泵

独立生产工艺
高性能高稳定性

集不锈钢泵大成者|CCTV展播品牌
LOADING IMAGES
SF
不锈钢离心式耐腐蚀(防爆)微型电泵

产品概述 :

SF防爆系列泵是我公司自行研制的不锈钢离心式耐腐蚀防爆微型电泵,泵的叶轮采用半 开式结构形式,由于产品集优良结构、性能、造型于一身,兼过流零部件及连接架采用 优质不锈钢材料制造,所以,两系列产品具有耐腐蚀性能可靠,电机采用YB2系列隔爆 型电机系列为赶超目标,结合我国防爆电机行业和市场的实际情况设计开发的防爆电机基本系列,是YB系列的更新换代产品使用维护方便、结构紧凑、能耗低、密封性能好等一系列优点。本系列电机的防爆性能符合GB3836.1-2000《爆炸性气体环境用电气设备 第1部分:通用要求》和GB3836.2-2000《爆炸性气体环境用电气设备 第2部分:隔爆型"D"》的规定,亦符合IEC79-1和DIN EN500 14~50020的规定,制成隔爆型,防爆标志 为EXD LL BT4,适用于有爆炸性气体混合物存在的场所,其中EXDL适用于有甲烷或煤尘存在的矿井下(非采掘工作面)环境中。

产品用途 :

该系列可输送温度不高于103℃,含有细小软颗粒或纤维质,带腐蚀性或有卫生要求的液体,广泛适用于食品、饮料、医药、污水处理、化工、电镀、漂染、精细化工等行业使用。

产品特点:

叶轮采取半开式结构 
转子轴全部采用摩擦焊接工艺316接轴 
电机采用高温线、F级绝缘等级,耐高温≤100° 
有硅溶胶和覆膜砂两种铸造工艺,可根据自身 需求选择

联系我们
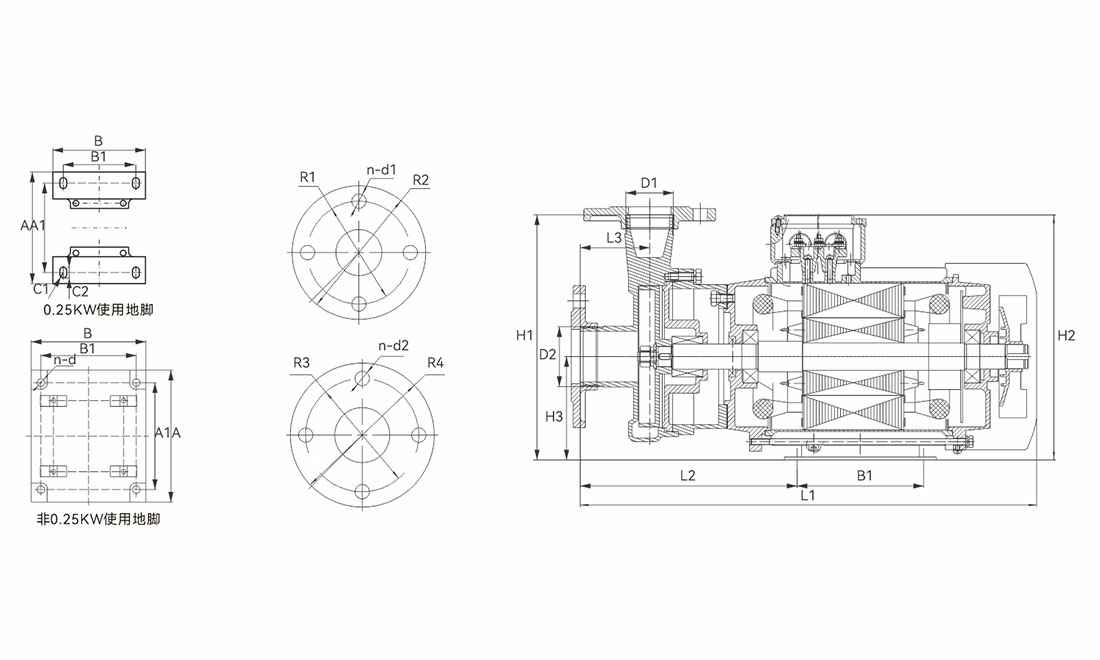
技术参数
曲线图
型号说明
序号 型号 Modle 流量
(m³/h)
扬程
(m)
功率
(kW)
电压
(V)
口径
(mm)
转速
(r/min)
H1 H2 H3 L1 L2 L3 D1 D2 A A1 B B1 C1 C2 R1 R2 R3 R4 n-d n-d1 n-d2
1 25SF2-10-0.25(D) 2 10 0.25 220/380 25 2860 160 188 69 302 143 38 G3/4 G1 125 99.5 101 80 R3.5 11 75 105 85 115 / 4-Φ14 4-Φ14
2 40SF3-14-0.55(D) 3 14 0.55 220/380 40 2860 191 207 81 361 164 49 G1 G1 130 90 135 112 / / 85 115 110 145 4-Φ7 4-Φ14 4-Φ18
3 40SF3-16-0.75(D) 3 16 0.75 220/380 40 2860 191 207 81 361 164 49 G1 G11/2 130 90 135 112 / / 85 115 110 145 4-Φ7 4-Φ14 4-Φ18
4 50SF6-18-1.1(D) 6 18 1.1 220/380 50 2860 191 241 95 428 202 63 G11/2 G2 173 140 150 125 / / 85 145 125 160 4-Φ10 4-Φ18 4-Φ18
5 50SF6-20-1.5(D) 6 20 1.5 220/380 50 2860 228 241 95 428 202 63 G11/2 G2 173 140 150 125 / / 110 145 125 160 4-Φ10 4-Φ18 4-Φ18
6 50SF15-18-2.2(D) 15 18 2.2 220/380? 50 2860 228 228 102 452 214 68 G11/2 G2 173 140 150 125 / / 110 145 125 160 4-Φ10 4-Φ18 4-Φ18

其他泵系列